买卖人口罪_人口买卖合同照片(2)

发布日期:2021-03-05    类别:热点图片

jpeg,338x400,45942b

贪婪是最初的\"七宗罪\"之一,所以它也是交易世界里的罪过并不惊讶,毕竟当涉及到钱的问题时,变得贪婪是人类的本性.

买卖人口罪_人口买卖合同照片(2)

jpeg,235x394,26145b

6月10日,云南省西双版纳傣族自治州景洪市人民法院对被告人李云强迫交易案进行一审公开宣判,对被告人李云以强迫交易罪判处有期徒刑6个月,并处罚金人民币2000元.

买卖人口罪_人口买卖合同照片(2)

,"height":313x640,23754b

古代拐卖儿童怎么判 没商量, 罪轻砍头, 罪重凌迟

买卖人口罪_人口买卖合同照片(2)

jpeg,351x640,35566b

寻衅滋事 强迫交易,7人恶势力犯罪团伙被依法审判

买卖人口罪_人口买卖合同照片(2)

jpeg,309x550,42181b

一审法院经审理认为_ 南康法院审理后认为,被告人钟某构成强迫交易罪、寻衅滋事罪、虚假诉讼罪、高利转贷罪,被告人王某宇构成强迫交易罪、寻衅滋事罪、非法侵入住宅罪、盗窃罪,被告人梁某构成高利转贷罪,三被告人均应当依法严惩.

买卖人口罪_人口买卖合同照片(2)

jpeg,306x500,46859b

江苏宜兴宣判一起网上买卖公民信息案,17人被判刑

买卖人口罪_人口买卖合同照片(2)

jpeg,810x1080,114542b

2018年9月,根据中山市纪委监委移交线索,中山市公安机关打掉一个盘踞在中山市西区果蔬批发市场的涉黑组织,抓获犯罪嫌疑人22人,侦破组织、领导、参加黑社会性质组织、寻衅滋事、强迫交易、敲诈勒索、开设、对非国家工作人员行贿罪、诬告陷害罪、故意伤害罪等刑事

买卖人口罪_人口买卖合同照片(2)

jpeg,487x550,40218b

慈溪又一起私刻公章案,因 一字之差 而被侦破 私刻公章是违法行为

买卖人口罪_人口买卖合同照片(2)

jpg,440x500,125306b

6月10日,云南西双版纳傣族自治州景洪市人民法院对被告人李云强迫交易案进行一审公开宣判,对被告人李云以强迫交易罪判处有期徒刑6个月,幷处罚金人民币2000元.

买卖人口罪_人口买卖合同照片(2)

jpeg,356x500,47934b

今年4月,通过分析犯罪嫌疑人的交易记录,3个幕后\"大买家\"进入警方视线,并在安徽合肥、河南郑州等地将这3个犯罪团伙共计12名犯罪嫌疑人抓获.

买卖人口罪_人口买卖合同照片(2)

jpg,300x400,41684b

寻衅滋事罪 寻衅滋事罪为什么是耻辱

买卖人口罪_人口买卖合同照片(2)

jpeg,269x530,53450b

近日,安徽省合肥市瑶海区人民法院对这样一起购买伪造违停告知单及交管部门印章案作出一审公开宣判,两被告人因构成伪造、买卖国家机关公文、印章罪,分别

买卖人口罪_人口买卖合同照片(2)

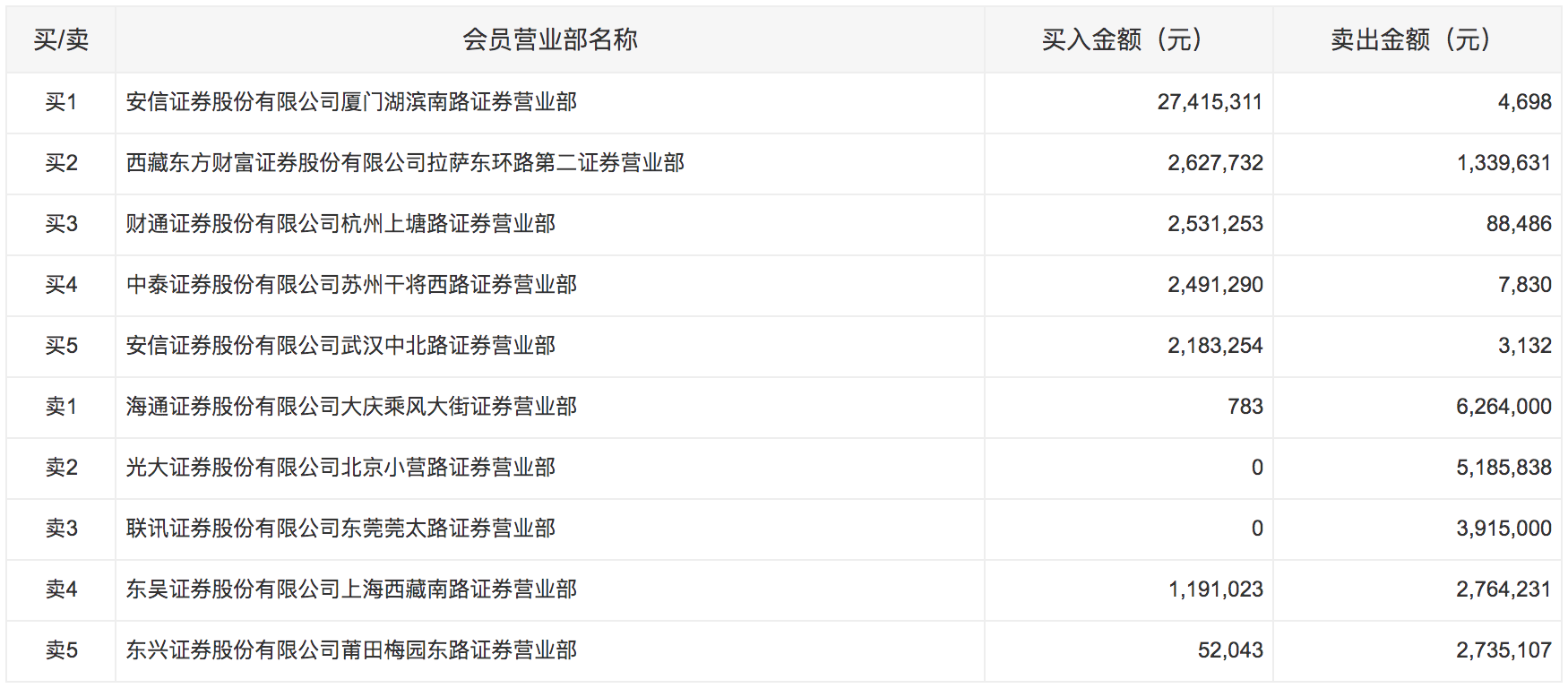
png,768x1750,239234b

实控人涉嫌内幕交易罪,春兴精工午后闪崩跌停,海通证券一营业部卖出600余万元

买卖人口罪_人口买卖合同照片(2)

jpeg,227x361,12887b

前一段时间_ 犯罪嫌疑人\"阿平\"因实施盗窃被广州警方抓获,目前,犯罪嫌疑人\"阿平\"已被依法刑事拘留.

买卖人口罪_人口买卖合同照片(2)

相关文章